日前,河南省南陽市某建材門市向水泥人網反映:“許昌禹州禹王中聯(PSA32.5)袋重不足,廠方所提供的質量檢驗報告單與攪拌站所測數值,相差甚遠”。
檢驗單位為“注銷”狀態,復檢報告與檢驗單差距較大
“禹州禹王中聯水泥技術開發有限公司水泥質量檢驗報告單”顯示,水泥品種為礦渣硅酸鹽水泥、執行標準GB175-2007、出廠編號P10、強度等級為 PSA32.5、出廠日期為2月13日。


從現場稱重視頻電子稱數字可見,標稱為“禹王中聯水泥”的三包水泥分別為“96.1、94.4、96.2”,而另兩包中聯水泥分別為“102.6、100.1”。
據查詢,上述水泥質量檢驗報告單上提到的名為“禹州禹王中聯水泥技術開發有限公司”的企業,目前狀態為“注銷”。企業基本信息顯示,禹州禹王中聯水泥技術開發有限公司,成立于2017年,位于河南省許昌市,是一家以從事科技推廣和應用服務業為主的企業。經營范圍為,水泥技術開發、技術推廣運用、技術服務、技術轉讓。

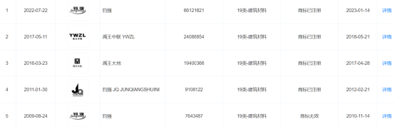
報告單及產品合格證中提到的檢驗單位:河南省鈞強水泥有限公司,(曾用名:禹州市禹強水泥有限公司),成立于2005年,位于河南省許昌市,是一家以從事非金屬礦物制品業為主的企業。
河南省鈞強水泥有限公司注冊商標圖片當前狀態為已注冊,有效期內。且同時擁有“鈞強、禹王大地”等多個注冊商標。

企業生產許可證編號:(豫)XK08-001-00062,有效期至2027年3月25日。產品為通用水泥42.5;生產類型為粉磨站;擁有一條粉磨生產線;關鍵設備為Ф3.2╳13m水泥磨1臺。

據悉,質量萬里行組委會近一年在豫中、豫南抽檢的18個批次水泥中不合格品6批次,占比達33.3%。在走訪豫中、豫南市場時也曾遇到類似的瘦身水泥和高仿品牌。
質量萬里行組委會通報不合格品名單
(豫中南地區)

不合格品抽檢產品分別為礦渣硅酸鹽水泥(A)、粉煤灰硅酸鹽水泥、火山灰硅酸鹽水泥;標稱單位分別為鹿邑縣天龍水泥有限公司、禹州市盈科建材科技開發有限公司、許昌市恒晟水泥有限公司、禹州市雍梁水泥有限公司、許昌紫云山建材有限公司、襄城縣源茂新型建材有限公司,主要不符合項目為氯離子、抗壓,抗折強度。不合格品商標分別為豫東海螺、堅鑄大地、雍梁中聯、首山大地、豫盛大地。
水泥人網注意到,鹿邑縣天龍水泥有限公司旗下共有13條注冊商標信息,其中“豫東海螺”相關兩條為無效商標,一條為等待實質審查階段。另有一條為“豫東海鏍”信息已注冊。

瘦身、不合格、假冒、高仿……類似的情況在水泥質量萬里行組委會的抽檢中多有發生。如本文開頭建材商店經營者所反映的情況一樣,合格證與實際復測數據差距較大,且減肥瘦身達不到標準要求的重量。
水泥質量萬里行組委會通知
水泥質量萬里行組委會將持續在流通領域抽檢,配合相關市場監管部門排查水泥質量不合格隱患。同時配合相關部門開展放心消費創建活動和消費教育引導活動,不斷提升投訴舉報處置效能,接受消費者投訴。
投訴熱線:18911461190 17301152862
投訴郵箱:offce@cementren.com


