日前,上海聯合產權交易所即上海市公共資源交易中心發布產權預披露項目,水泥人網注意到這則華潤水泥(福州)有限公司100%股權預轉讓的消息中所列企業負債達五千多萬元。
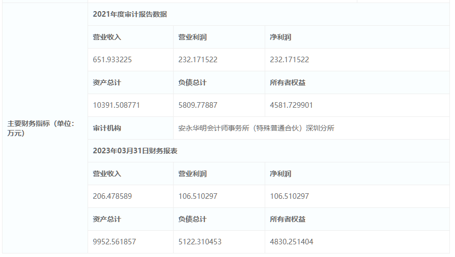
華潤水泥(福州)有限公司負債總計5122.310453萬元
華潤水泥(福州)有限公司企業地址位于福建省福州市馬尾區亭江松門順內從事裝卸、倉儲經營等。


披露信息中提到的企業主要財務指標顯示,2021年度企業利潤總額達232.17萬元,資產總計達1.039億元,當年營業收入651.93萬元,凈利潤232.17萬元,負債總計5809.77887萬元。2023年03月31日財務報表資產總計約9952.561857萬元,營業收入206.478589萬元,凈利潤106.510297萬元,負債總計5122.310453萬元。

葛洲壩崇左建材有限公司100%股權擬轉讓,負債總計27836.07萬元,所有者權益僅100萬元
葛洲壩崇左建材有限公司100%股權預掛牌,披露結束日期為2023年5月9日。企業2023年3月31日財務報表顯示,資產總計27936.07萬元,負債總計27836.07萬元,所有者權益100萬元。


廣西紅水河水泥200萬股股份以469.89萬元底價轉讓,企業負債總計約3.26億元
華潤水泥投資有限公司旗下廣西紅水河水泥股份有限公司200萬股股份(約占總股本的0.66%)以469.89萬元底價轉讓,企業2022年8月31日財務報表顯示,企業營業利潤-371.52405萬元,凈利潤-293.582276萬元,資產總計101465.456125萬元,負債總計32598.5814萬元。
冀東水泥礦山、礦車、卸船機、窯生產線設備等資產轉讓
冀東水泥黑龍江有限公司礦山東采區需剝離的約99.7664萬立方米山皮(土)石轉讓以182.3782萬元轉讓;
冀東水泥(煙臺)有限責任公司ATXL300A卸船機兩臺以132.5305萬元底價轉讓;
唐山冀東水泥股份有限公司唐山分公司28臺礦車以247.616萬元底價轉讓;
冀東水泥銅川有限公司7號窯生產線2661項機器設備以5040萬元底價轉讓;
冀東水泥銅川有限公司8號窯生產線869項機器設備以5643.02萬元底價轉讓;
贊皇金隅水泥有限公司原料磨、單段錘式破碎機、生料減速機各一臺,分別以177萬元、10.1萬元、67萬元轉讓。
同期,貴州水晶有機化工(集團)有限公司所屬分公司貴州水晶有機化工(集團)有限公司苗嶺建材分公司2500噸/日水泥熟料產能指標以6262.164萬元底價轉讓。
浙江衢州巨泰建材有限公司40萬噸/年熟料生產線生產指標以5868萬元底價轉讓。
伊春北方水泥有限公司一批礦山存貨及廢舊設備以1133.1萬元底價捆綁轉讓。
水泥人網注意到,在眾多轉讓成交信息中南方水泥旗下多條熟料生產線及閑置資產為溢價成交。
南方水泥、天山水泥熟料生產線設備、粉磨生產線設備及閑置資產轉讓成交,最高溢價2133萬元
廣德獨山南方水泥有限公司部分資產(2#熟料生產線原有設備)于4月12日以148.47萬元成交,此前披露底價為125.47萬元,溢價23萬元;
湖南寧鄉南方水泥有限公司2500T/d熟料線相關設備和附屬構筑物于4月11日以2195.170025萬元成交。此前披露底價為971.170025萬元,溢價1224萬元。
六安南方水泥有限公司1#水泥粉磨生產線廢舊類資產于3月20日以165.54萬元成交。此前披露底價為121.54元,溢價44萬元。
湖南韶峰南方水泥有限公司2500T/d閑置生產線于2月21日以3612萬元成交。此前披露底價為2000萬元,溢價1612萬元。
湖南耒陽南方水泥有限公司花橋分公司4500t/d熟料生產線閑置資產于1月4日以5445.982138萬元成交,此前披露價格為3312.982138萬元,溢價2133萬元。
吐魯番天山水泥有限責任公司持有的2000噸生產線相關資產于2月15日以2700萬元成交,此前披露的價格為2700萬元,溢價為0。
除上述5家南方水泥為溢價成交外,多家水泥企業股權、債權、資產轉讓為0溢價成交。
黎塘暨陽水泥3568.49萬元債權,95萬元成交
于2023年3月1日成交的GXCQJY22-451廣西賓陽縣昆侖資產投資發展有限責任公司持有的黎塘暨陽水泥有限公司債權公開轉讓項目以95萬元成交,溢價0元。
水泥人網注意到,本次轉讓標的為廣西賓陽縣昆侖資產投資發展有限責任公司持有的黎塘暨陽水泥有限公司債權,債權金額3,568.49萬元,其中:本金400.00萬元,利息3,168.49萬元(計息截至2022年3月31日止),含抵押土地面積共101畝,未辦理抵押登記手續,無擔保人;由于該債權原屬金融機構剝離的不良資產,故債權本身存在瑕疵,此前披露底價即為95萬元,成交溢價0元。
紹興萬年青水泥20%股權0溢價成交
紹興萬年青水泥有限公司20%股權于1月17日以204萬元成交。企業2022年10月31日財務報表顯示,企業凈利潤-118.042396萬元,資產總計3995.744104萬元,負債總計5073.874667元,所有者權益-1078.130563萬元,此前披露的轉讓底價為204萬元,成交溢價為0。
與此同時,混凝土行業多家企業股權轉出信息登上產權交易平臺。
北京中聯新航建材有限公司100%股權及相關債權
中國聯合水泥集團有限公司旗下北京中聯新航建材有限公司100%股權及相關債權擬出讓。企業經營范圍為制造混凝土、預拌砂漿;銷售建筑材料、混凝土添加劑、土砂石、尾礦石、山碎石;技術開發;技術咨詢;機械設備租賃。
企業2023年3月31日財務報表顯示,資產總計195175.92萬元,負債總計188615.53萬元,所有者權益6560.39萬元,營業收入8767.43萬元,營業利潤-2612.68萬元,凈利潤-2613.15萬元。


東莞華潤豐誠混凝土有限公司100%股權
東莞華潤豐誠混凝土有限公司100%股權預掛牌,企業經營范圍為生產和銷售預拌商品混凝土。道路貨物專用運輸(罐式容器)(憑道路運輸經營許可證經營)等。
企業2021年營收18444.27萬元,凈利潤402.993萬元,負債總計11576.44萬元;最近一期營業收入1337.04萬元,凈利潤-55.137萬元,負債總計9540.215萬元。
江西金宜混凝土有限公司65%股權轉讓
江西南方水泥持有江西金宜混凝土有限公司65%股權以548.18萬元底價轉讓。企業2023年01月31日財務報表顯示,資產總計3038.32萬元,負債總計2302.28萬元,所有者權益736.04萬元。
重慶建工葆晟混凝土有限公司51%股權轉讓
重慶建工葆晟混凝土有限公司51%股權以380萬元底價轉讓,最新資產總計621.89萬元,負債總計815.22萬元,所有者權益-193.34萬元。
華潤混凝土(方山)有限公司100%股權轉讓
華潤混凝土(方山)有限公司100%股權以766.6萬元底價轉讓,2022年08月31日財務報表資產總計1501.48萬元,負債1244.72萬元,所有者權益256.75萬元。
因近兩年行業利潤持續下行,水泥、混凝土企業資產及股權已淪為“雞肋”,甚至有多次掛牌或降價仍無人問津的情況出現。公開轉讓的水泥、混凝土企業中不乏資不抵債,將債權、債務同步出售的情況。


