近日,水泥人網陸續收到多位網友投訴稱河北邯鄲武安市場流通領域高仿、假冒品牌水泥遍布,給當地主要品牌企業造成一定的影響。據了解,武安主要品牌企業為邯鄲市金隅太行水泥有限公司。

資料圖:邯鄲金隅太行水泥有限責任公司

資料圖:邯鄲金隅太行水泥有限責任公司正品包裝

資料圖:邯鄲金隅太行水泥有限責任公司正品包裝
邯鄲金隅太行水泥有限責任公司,成立于2010年,北京金隅集團成員,旗下品牌為“太行山”,為金隅冀東水泥下屬企業。

或正因如此,區域內部分粉磨站企業品牌碰瓷“太行”“冀東”“金隅”字樣。也有個別粉磨站碰瓷“中聯、海螺”等行業知名品牌。
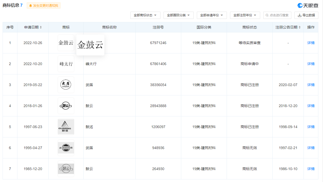
標稱生產企業為武安市第三水泥廠


標稱內容
品牌:鼓云、鼓洺、武盾
產品類型:礦渣硅酸鹽水泥
產品標號/包裝類型:P.S.A32.5、P.S.A42.5包裝水泥/凈含量50kg
生產廠家:武安市第三水泥廠
地址:武安市北安莊鄉同會村
據查詢:武安市第三水泥廠,法定代表人張海平,工商注冊地址位于河北省邯鄲市武安市北安莊鄉同會村。股權鏈顯示,企業為武安市北安莊鄉人民政府100%控股企業。

企業生產許可證編號XK08-001-03816,有效期至2024年10月14日。企業類型為粉磨站,擁有1條粉磨生產線,關鍵設備Φ3.8×13m水泥磨機1臺。

該企業名下共有7條商標信息,其中圖形武盾、鼓云、鼓洺3個商標為已注冊狀態,2022年10月申請的金鼓云商標目前狀態為“等待實質審查”;同期申請的“峰太行”狀態為“商標申請中”;1995年4月27日申請的圖形“武盾”和1985年申請的圖片“鼓云”目前為無效狀態。上圖中標注為“20220921出廠”的產品商標正是1995年4月27日申請的目前為無效狀態的圖形“武盾”。

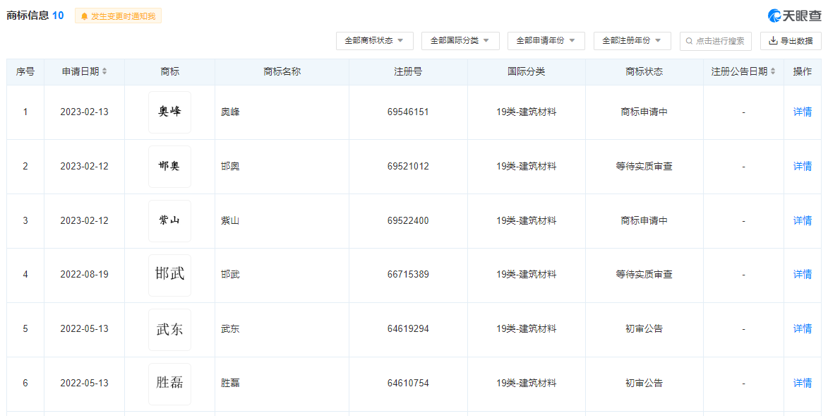
標稱生產企業武安市邯武水泥廠

標稱內容
執行標準:GB175-2007
生產許可證:XK08-001-02404
礦渣硅酸鹽水泥
P.S.A32.5 凈含量50kg
商標:武奧牌、勝磊牌、邯武牌
武安市邯武水泥廠
地址:武安市康二城鎮洞上村東
據查詢,武安市邯武水泥廠法定代表人王騰,工商注冊地址為河北省邯鄲市武安市康二城鎮洞上村東。股權鏈信息顯示,其大股東為康二城鎮洞上村委會。

工業品生產許可證編號〔冀〕市監許受字〔2022〕第0000720921002800375號,有效期至2028年04月26日。企業共有10條注冊商標信息,上述包裝上標稱的武奧牌為已注冊狀態。“勝磊”商標其一為無效狀態,另一為初審公告階段。

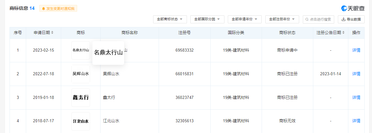
標稱生產企業武安市金瑞峰水泥制造有限公司

標稱內容
礦渣硅酸鹽水泥
P.S.A32.5 凈含量50kg
商標:名鼎太行山、金隅太行山
生產廠家:武安市金瑞峰水泥制造有限公司
據查詢武安市金瑞峰水泥制造有限公司,法定代表人韓建平。工商注冊地址位于武安市北安樂鄉康宿村
工業品生產許可證:XK08-001-04980 有效期至2025年05月24日。生產類型為粉磨站;擁有2條粉磨生產線;關鍵設備為Φ3.5×13m水泥磨機和Φ3.8×16m水泥磨機各1臺。
旗下共有14條商標信息,其中2023年2月15日申請的“名鼎太行山”商標目前狀態為“商標申請”。“金隅太行山”未查到。
水泥人網注意到,企業旗下與國內知名商標類似的有“昊輝山水、鑫太行”目前狀態為已注冊狀態,“江北山水”商標為無效狀態。

據查詢,上述包裝水泥標稱的“金隅太行山”申請企業為河北華鑫筑屋建材銷售有限公司,該企業旗下共有13條商標信息,商標名稱分別為“金隅太行山”和“冀東太行山”,其中12條商標狀態 為“等待實質審查”,1條為“初審公告階段”。
標稱生產企業武安市鼓山水泥有限公司
另一家標稱為“金隅太行”品牌的生產企業為武安市鼓山水泥有限公司。

標稱內容
品牌:金隅太行
出廠編號:0106
包裝日期:2023年01月06日
生產廠家:武安市鼓山水泥有限公司
地址:武安市北安莊村西
據查詢,武安市鼓山水泥有限公司法定代表人王利斌,注冊地址位于河北省邯鄲市武安市北安莊村西。工業產品生產許可證編號XK08-001-02258,有效期至2023年11月28日。企業類型為粉磨站,擁有一條粉磨生產線,關鍵設備為Φ3.0×13m水泥磨機1臺。企業名下有10條商標信息,其中包含2023年3月17日申請的“鼓山海螺”牌。
標稱生產企業武安康力水泥制造有限公司

標稱內容:
礦渣硅酸鹽水泥P.S.A32.5 凈含量50kg
品牌:金隅太行
生產企業:武安市康力水泥制造有限公司
廠址:武安市北安樂鄉康宿村

標稱內容:
礦渣硅酸鹽水泥P.S.A32.5 凈含量50kg
執行標準:GB175-2007
生產許可證號(冀)XK08-001-00099
品牌:冀東中聯
生產企業:武安市康力水泥制造有限公司
廠址:武安市北安樂鄉康宿村

標稱內容:
礦渣硅酸鹽水泥,P.C42.5 凈含量50kg
品牌:邯峰太行山
生產企業:武安市康力水泥制造有限公司
據查詢,武安市康力水泥制造有限公司法人代表韓彥,企業生產許可證編號﹝冀﹞市監許受字﹝2022﹞第0000400921002000265號 有效期至2028年2月1日。企業類型為粉磨站,擁有1條粉磨生產線,關鍵設備為Φ3.2×13m水泥磨機1臺。企業名下共有16條商標信息,“冀東中聯”目前狀態為商標申請中。“邯武太行、邯峰太行、紫峰太行、昌興”等處于“等待實質審查”階段。
來自河南安陽的“豫冀太行山”品牌
據市場反饋,來自河南安陽區域的兩個品牌在邯鄲武安流通市場也有出現。“豫冀太行山”品牌,申請人為河南省安陽縣益民水泥廠,目前狀態為初審公告階段。


企業為普通合伙企業,企業執行事務合伙人為劉新文,注冊地址位于許家溝河西村。企業工業產品生產許可證編號XK08-001-07018,有效期至2025年5月24日。企業類似為粉磨站,擁有3條粉磨生產線。關鍵設備為Φ3.2×13m水泥磨機2臺;Φ3.5×13m水泥磨機1臺。

標稱“臨化”牌的包裝水泥,生產許可證已失效,或涉嫌換證生產

標稱內容:
品牌:臨化牌
礦渣硅酸鹽水泥P.S.B32.5,凈含量50kg
執行標準:GB175-2007
證可證號:XK08-001-05595
安陽金旺臨化水泥有限公司
廠址:安陽縣水冶鎮西街(大白線西側)
據查詢,安陽金旺臨化水泥有限公司,工商注冊地址:安陽縣水冶鎮西街(大白線西側),法定代表人陳彥紅。工業產品生產許可證編號XK08-001-05595,證書有效期至2022年12月16日(已失效)。企業類型為粉磨站,擁有4條粉磨生產線,關鍵設備為Φ3.2×13m水泥磨機4臺。企業標稱的生產許可證編號,經查詢為失效狀態,該企業或涉嫌無證生產。
國家市場監督管理總局產品質量安全監督管理司司長段永升曾表示,要加快修訂《產品質量法》,完善產品安全、產品責任、質量基礎設施等領域法規。依法嚴厲打擊制售假冒偽劣商品、侵犯知識產權等行為,推進行政執法與刑事司法銜接。同時進一步深化工業產品生產許可證和強制性認證制度改革,強化事前事中事后全鏈條監管。為配合國家市場監管總局對水泥行業產品質量的監督和水泥行業知識產權的規范,水泥質量萬里行組委會市場流通領域抽樣將持續進行,將涉及更多的省市地區。
水泥質量萬里行組委會
水泥質量萬里行組委會將持續在流通領域抽檢,配合相關市場監管部門排查水泥質量不合格隱患。同時配合相關部門開展放心消費創建活動和消費教育引導活動,不斷提升投訴舉報處置效能,接受消費者投訴。
投訴熱線:18911461190 17301152862
投訴郵箱:offce@cementren.com


